韶关学院是广东省省属公办全日制综合性普通本科大学。坐落在世界地质公园丹霞山和禅宗祖庭南华寺所在地、粤北历史文化名城——韶关市。下面是小编为大家整理的关于2022广东韶关学院高考录取分数线,如果喜欢可以分享给身边的朋友喔!

2022广东韶关学院高考录取分数线
由于2022韶关学院录取分数线还未公布,公布后会及时更新,请收藏关注。现在参考往年韶关学院的分数线!
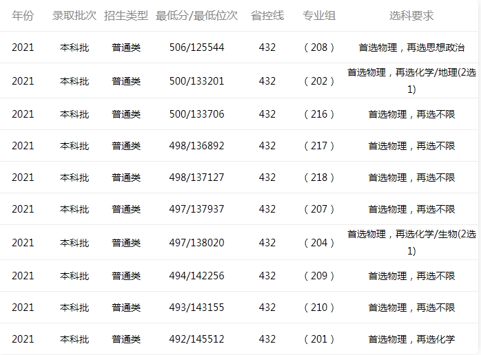
2021广东韶关学院高考录取分数线


2022高考志愿填报最全指南
一、搜集信息内容:(一般有以下5个方面)
1、政策信息
填报志愿首先要了解招生政策和规定,特别是与填报志愿密切相关的政策和规定。
一个是国家的政策,比方说,教育部每年要发布一些当年高校的招生文件。
还有一个是省的,每个省的都有特殊情况,要特别关注自己所在省市的招生政策。比如录取批次的划分、录取体制和办法、加分照顾政策、录取程序、投档办法、高考体检指导意见等等。
2、招生形势
了解招生形势,有助于整体把握填报志愿的原则和方向,避免主观臆断。招生形势包括当年招生改革的一些重大举措、新的管理办法、本地区各科类报考人数、各批次各科类招生计划数、录取比例等等。
3、招生章程
招生章程是高校有关招生方案、招生计划和录取规则等的政策性承诺,了解学校的招生章程对科学填报志愿有很大的指导作用。招生章程通常包括院校的地理环境、建筑面积、历史沿革、专业设置情况、学科优势、师资力量、院士及教授人数、博士硕士授予权、在校学生人数、奖贷学金的设置情况等等。应尽可能收集并细读自己想报院校的招生章程。
4、批次线和学校调档线
应收集近年各批次各院校在本省(市)录取的第一志愿考生人数、录取的最高分、最低分和平均分,并结合自己成绩进行分析。对于考后知分填报志愿,考生在填报志愿之前还应准确掌握今年本地各批次录取最低控制分数线。了解以上信息,有助于分析预测各招生院校的调档线和自己高考成绩之间的相关性。
5、相关科目成绩
相关科目指的是与所报专业知识密切相关的高考科目。相关科目成绩优秀,有利于所报专业的录取,反之,所报专业的录取机会就会降低。各招生院校在历年的招生录取过程中,根据不同的专业,对高考相关科目成绩可能会有一定的要求,考生在填报志愿时,也应该注意收集研究此类资料和信息。
以上列举了这些,当然还有其它需要了解的,建议各位家长朋友根据自己的情况进行搜集。
二、学习搜集信息资料有那些途径:
一是省考试院的官方网站,需要必须看而且要常看,它的信息具有权威性、及时性和准确性;
二是看准备报考高校的官方网站,因为它介绍了学校的招生计划、专业计划,还是详细了解该学校一般情况的重要便捷途径。
三是考试院发的《报考指南》、《招生计划》、《招生章程》、《录取分数分布统计》等。
省考试院发的《报考指南》,上面关于政策、条件、加分、怎么录取等原则性、规则性的东西说得很详细,那本书最关键的就是有近三年高校在本省招生的分数统计,可根据前面三年的数据测算今年你所报的这个学校在本省预计的提档线。
2022广东韶关学院高考录取分数线预估相关文章:
★ 2022广东文理科二本大学排名
★ 2022年全国公办二本大学排名及分数线一览表
★ 2022年广东省大学排名一览表
★ 2022全国二本大学排名及分数线
★ 2022年广东二本学校排名最新
★ 中央司法警官学院录取分数线预测2022
★ 河北科技师范学院2022录取分数线
★ 2022年河北高考本科提前批志愿征集填报时间预测
★ 2022年重庆理工大学录取分数线发布
★ 300分能上什么大学
