深圳大学1983年经国家教育部批准设立,肩负着为特区培养人才和为国家高等教育改革探路的光荣使命。以下是小编精心收集整理的2022年深圳大学高考录取分数线预测,下面小编就和大家分享,来欣赏一下吧。
2022年深圳大学高考录取分数线预测
2022年深圳大学高考录取分数线还未公布,可以收藏以待更新,大家可以参考一下。
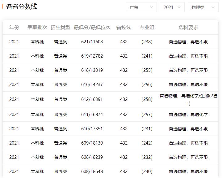
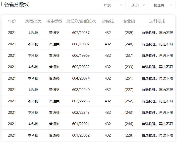
往年深圳大学高考录取分数线








深圳大学学校简介
深圳大学1983年经国家教育部批准设立,肩负着为特区培养人才和为国家高等教育改革探路的光荣使命。中央、教育部和地方高度重视深圳大学建设,组织北大援建中文、外语类学科,清华援建电子、建筑类学科,人大援建经济、法律类学科,一大批知名学者云集深圳大学。建校伊始,学校在高校管理体制上锐意改革,在奖学金、学分制、勤工俭学等方面进行了积极探索,率先在国内实行毕业生不包分配和双向选择制度,推行教职员工全员聘任制度和后勤部门社会化管理改革,为中国高等教育改革做出了重要贡献。深圳大学是国家大学生文化素质教育基地、全国文明校园。
建校39年,深圳大学秉承“自立、自律、自强”的校训,紧随特区,锐意改革、快速发展,在较短的时间内形成了从学士、硕士到博士的完整人才培养体系以及多层次的科学研究和社会服务体系,形成了“特区大学、窗口大学、实验大学”的办学特色,培养了20多万各类创新创业人才,95%以上扎根粤港澳大湾区,为特区发展和国家现代化建设做出了重要贡献。特别是进入新时代以来,学校实施高水平大学建设发展战略,成为内地进步最快的大学之一,综合实力得到全面快速提升,实现了从本科教学型大学向教学科研并重型大学的转型,创新创业人才培养、人事管理体制等领域的改革走在全国前列。目前,学校已经成为一所特色鲜明、实力雄厚、在国内外具有良好声誉和重要影响力的高水平综合性大学。
深圳大学现有粤海、丽湖两个校区,校园总面积2.71平方公里,总建筑面积197.1万平方米。学校教学资源丰富,科研设施齐备。教学、科研仪器设备总值41亿元。图书馆馆舍90512㎡,全校纸本资源442万余册,全文电子图书299万余册,全文电子期刊13.21万种。现有国家级本科专业综合改革试点1个,国家级人才培养模式创新实验区1个,国家级实践教学基地1个。有国家级实验教学示范中心2个,国家级虚拟仿真实验教学中心1个,省级实验教学示范中心20个,省级虚拟仿真实验教学中心3个。建有国家工程实验室3个,科技部国际合作基地1个,国家工程技术研究中心1个,教育部重点实验室3个,教育部联合实验室1个,教育部协同创新中心1个,省级重点实验室12个。
深圳大学现有在校生41164人,其中本科生28425人、硕士研究生11887人、博士研究生561人、留学生291人;现有成人教育学生24714人。学校学科门类齐全、综合性强,涵盖哲学、文学、经济学、法学、教育学、理学、工学、管理学、医学、历史学、艺术学等11个学科门类。学校设有27个学院,101个本科专业,2所直属附属医院。现有国家级特色专业5个,国家级一流本科专业建设点26个;有省级重点学科15个,博士学位授权一级学科点17个;博士后科研流动站9个,博士后工作站1个。有硕士学位授权一级学科38个,专业硕士学位授权类别27个。工程学、临床医学、材料科学、生物学与生物化学、计算机科学、化学、物理学、社会科学总论、环境科学/生态学、药理学与毒理学、农业科学、植物学与动物学、神经科学与行为学、精神病学与心理学等14个学科进入ESI学科世界排名前1%,在中国高校扩展版ESI高被引论文排行榜中位列第32位;其中工程学进入ESI全球排名前1‰,是深圳本土高校第一个ESI进入全球前1‰的学科。学校发起组建“全国地方高校UOOC联盟”,加盟高校达136所,上线课程761门,选课学校累计765所,累计选课人次突破155万。2020-2021学年本科生获各级各类竞赛奖928项
